
A new analysis of colorectal adenomas found that men have significantly more advanced adenomas and colorectal cancers than women at all age groups, prompting the Austrian reserachers to recommend that men be screened earlier than women. Just how much earlier is a question that will require more investigation.
Among the findings of the four-year cohort study of more than 44,000 individuals (median age, 60.6 years for men; 60.7 years for women) in Austria, the prevalence of advanced adenomas in those 50 to 54 years old was 5% overall -- but it was 2.9% in women compared with 5.6% in men. Moreover, the number of patients needing to be screened to find a single advanced adenoma was lower in men than women (20 versus 34, respectively).

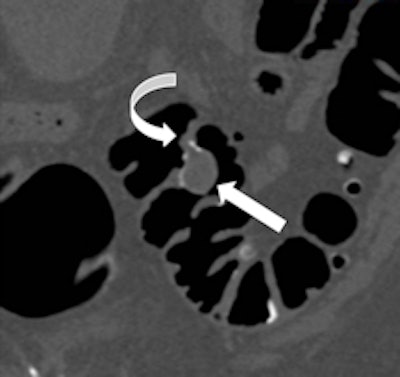
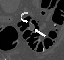
Left: Coronal reformatted view showing a pedunculated polyp of the sigmoid colon. Right: Volume-rendered endoluminal view of the same pedunculated polyp. In both images, the curved arrow indicates the stalk and the straight arrow indicates the head of the polyp. Images courtesy of Dr. Andrea Laghi, University "La Sapienza," Latina, Italy.During the years in which they were eligible for colorectal screening, women showed a similar prevalence of advanced adenomas and cancers as men, but on average were 10 years older. At comparable ages, the detection rate of advanced adenomas was 71% higher in men than women (7.96% versus 4.65%).
"The increased number of [colorectal cancers] diagnosed at age 50 to 59 years may reflect a transition from adenomas that were present in individuals in their 40s," wrote lead author Dr. Monika Ferlitsch and colleagues from the Medical University of Vienna (Journal of the American Medical Association, September 28, 2011).
For all adenomas, the prevalence among men ages 50 to 54 was 18.5%, more than women in the same age range (10.7%), but similar to the rate of women 10 years older (17.9%), in the 65- to 69-year-old age range.
"A comparable difference of 10 years in the [number needed to screen (NNS)] between the age groups of male and female participants has also been observed in other studies," Ferlitsch and her colleagues wrote. For example, Nguyen et al compared the NNS among three studies for advanced adenoma, which were 21, 17, and 10 for men ages 50 to 54 years, compared with 66, 28, and 50 for women of the same age.
Meanwhile, a Polish study by Regula et al in 2006 suggested a tailored approach to colon screening, such as men ages 40 to 49 years and women ages 50 to 59 years because these groups had similar NNS. The authors of the current study agreed that a one-size-fits-all approach may not be best.
"New screening recommendations concerning age should be reconsidered," the authors concluded.
















